Description
Service Entrance Cable Caps Zinc Die-Cast
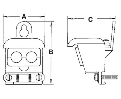
The Service Entrance Cable Cap is suitable for indoor and outdoor use and is designed to resist corrosion. The cap works well in overhead services that use SEU cable. It is crafted with zinc die-cast steel to help ensure strength and is UL- and CSA listed for safety.
Specifications
Specifications

| Part Number | Wire Size | Dim A | Dim B | Dim C | Hole Size |
|---|---|---|---|---|---|
| NPNB-660 | 7/8" Diam. Max | 2.060 | 2.970 | 2.260 | (2) .58 |
| NPNB-662 | 1/0 to 4/0 | 3.180 | 4.250 | 3.600 | (2) .80 |
What's in the box?
What's in the box?
| Item | Dim A | Dim B | Dim C |
|---|---|---|---|
| NPNB-660 | 10.875" |
7.875" |
7.375" |
| NPNB-662 | 10.875" |
7.875" |
7.375" |
- 660 - 50 Pack - Service Entrance Cable Caps Zinc Die-Cast
- 662 - 10 Pack - Service Entrance Cable Caps Zinc Die-Cast
